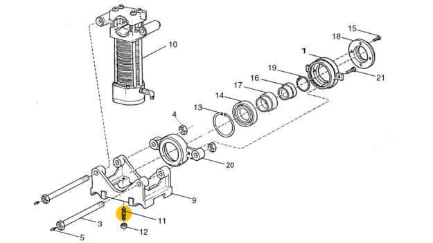
Ball Bearing (0502 2244-00)
Ball Bearing (0502 2244-00)Reference No: 14Manual Reference No: 14 Part No: 0502 2244-00Part manual no: 0502 2244-00 0502224400 Quantity: 1Total quantity in a set: 1 pc Replacement Frequency: 5Replacement frequency is 1 to 10. 1 lowest, 10 highest. NotesSend an Inquiry Please kindly send us your inquiry from the form below. We will immediately fulfill…










